Model Number

  • 1

    KGCC566RBB00

  • 2

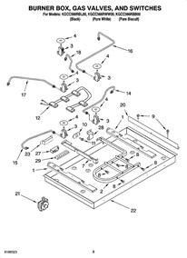
    Choose the diagram of the component your part is located in:

  • 3
    Loading  Loading parts of sections